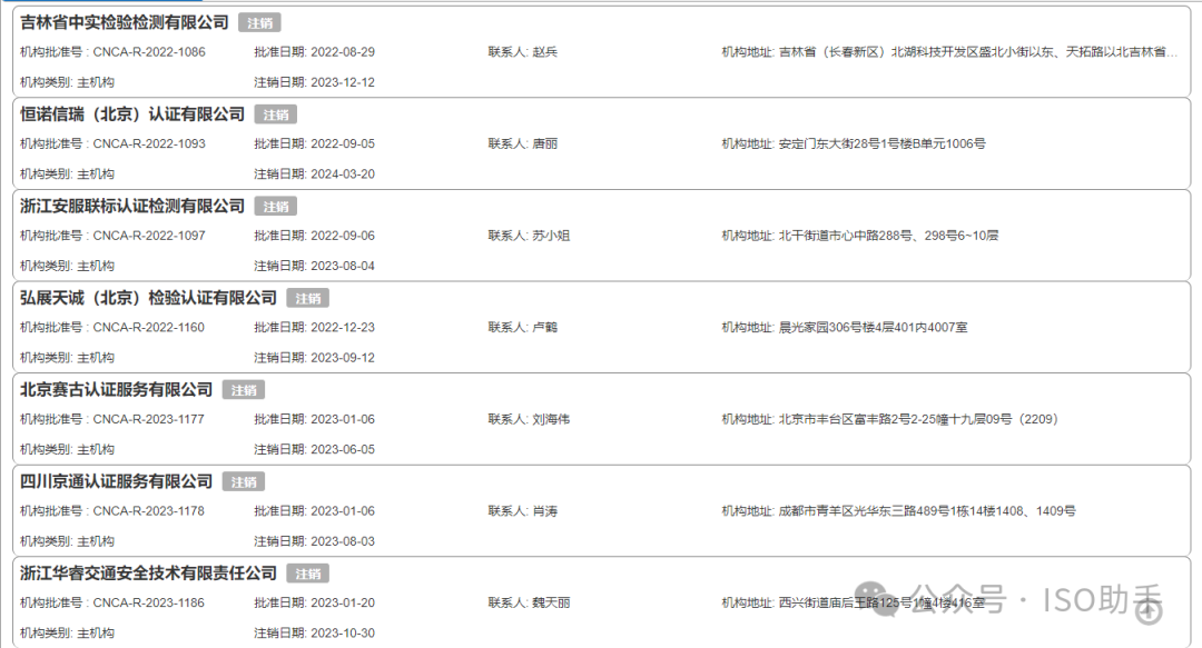
据认监委官网公开资料显示,目前已注销93家认证机构(部分机构带CNAS)。详见下图:
如何正确选择认证机构规避风险? 1 1、认证机构资质 认证机构的资质和认可情况在国内运作的认证机构,无论是国内还是国外机构,均需要在国家认证认可监督委员会进行备案,接受监督。 2 2、审核队伍的水平 比如对审核员的入职要求?行业要求如何?比如一些机构要求,审核人员超过60个专业人员,审核人员要求有5-10年的行业经验,熟悉行业和认证有关程序。现在市场很多认证机构为了控制成本,大量聘用 兼职 审核员,这样审核员的资历、专业水平、操守规范都难以控制。 3 3、认证机构的审核服务、声誉和品牌 由于现时管理体系发展很快,新的管理体系标准不断涌现,所以企业选择时应考虑今后需要,选择的机构应可提供多种不同体系的审核。而认证机构的声誉和品牌也相当重要,相当多的买家已经将要求“是否通过认证?”转变为“通过哪家认证机构的认证?” 4 4、认证机构的行业优势 每个认证机构都会有他们的优势行业,某种程度上,这一方面可以说明认证机构在这一行业的审核经验以及审核员的水平;认证机构优势行业的客户群也能反映出认证机构在这一行业的地位。 5
手机
联系电话
微信扫一扫

微信扫一扫
